合作品牌介绍
60500401 GTIM气密性防护服
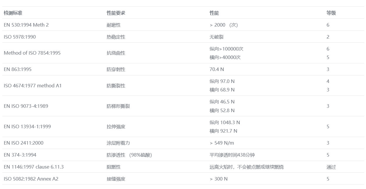
规格参数

产品介绍
带钢头和钢底的高化学防护性的’HAZMAX’安全靴
提供面部密封装置
配备从左肩到右股的122cm(48″)重型气密性拉链
可调节的内置支持腰带适合于各种体型以便舒适地穿用该防化服
手套通过闭锁袖口结构和防护服相结合,便于更换手套
内部和外部线缝都被粘缝
呼气阀保证服装内部的气压变化在1分钟内不超过1毫巴
防化服配有一个塑料箱


